|
|
Universidade Federal de Santa Catarina |
||||
Introdução à Física da Radioterapia
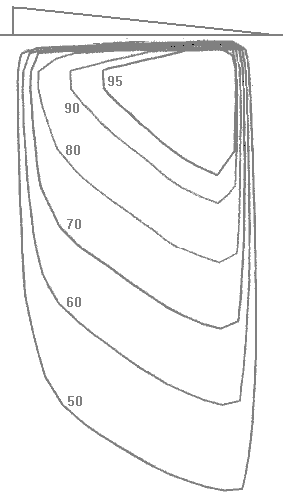
Efeito do uso de um filtro em cunha, para um feixe de raios-X produzidos a partir de elétrons de 6 MeV, com distância foco-superfície de 100 cm e campo 8 cm x 8 cm.

© 2000
Fábio Antonio Schaberle e Nelson Canzian da Silva - Departamento de Física UFSC